Um unseren Shop in vollem Umfang nutzen zu können, empfehlen wir Ihnen Javascript in Ihrem Browser zu aktivieren.
Unsere
Öffnungszeiten:
Mo-Fr: 8-12 Uhr & 14 - 18 Uhr Sa: 9-13 Uhr
E-Mail:
info@preisteufel.at
Anmelden
oder
Konto anlegen
Menü schließen
Mein Konto
Anmelden
oder
registrieren
Übersicht
Persönliches Profil
Adressen
Zahlungsarten
Bestellungen
Meine Garage
0,00 €*
Home
Produkte
MARKEN
Oils
BGS
Werkzeug
BGS Do it yourself
Sprays
Arbeitsschutz
Car Care
KFZ Zubehör
Haus und Garten
%Prozente%
Winterartikel
Designer Aktionen
ABVERKAUF
Ostern
Ersatzteile
Zur Kategorie Produkte
Neuheiten
Werkstattwagen, Betriebseinrichtung
Werkstattwagen, Zubehör
Bit-Einsätze, Bits
Bit-Einsatzsortimente
Bithalter, Adapter
Steckschlüsselsätze, Werkzeugkoffer
Steckschlüsselsätze
Elektro-, Akku-Werkzeuge
Stecker, Buchsen
Kabeltrommeln, Zubehör
Löt-, Heißklebewerkzeuge
Steckschlüssel-Einsätze
Hochvoltwerkzeuge Isolierte Werkzeuge
Spezialwerkzeuge NFZ, LKW
Öl-, Kraftstofffilter
Haus, Garten
Haken, Befestigung
Beschläge, Verbinder
Haushalt, DIY
Rollen, Räder
Schlösser
Knarren, Verlängerungen, Adapter, Zubehör
Zur Kategorie MARKEN
Grischek Car Care
Mannol
Kim-Tec
BGS Technic
Eurolub
Nigrin
Sonax
Armor All
Scholl Concepts
Meguiars
Koch Chemie
Innotec
Liqui Moly
STP
Carmotion
Berner
Brunox
Petec
K2
Bosch
Neolux
Goodyear
Michelin
SCT Germany
Quixx Repair System
WD-40
4Max
Wunderbaum
Zipper
Toptul
Unitec
Fischer
Fuchs
Castrol
Total
Shell
Varta
Stronghand
Schopf Hygiene
Rezi
Tschiep Tschiep
Silverline
Osram
Hankook
Sailun
Walser
Duralamp
Sonstiges
Zur Kategorie Oils
SAE 0W-20
SAE 0W-30
SAE 0W-40
SAE 5W-20
SAE 5W-30
SAE 5W-40
SAE 5W-50
SAE 10W-30
SAE 10W-40
SAE 10W-60
SAE 15W-40
SAE 15W-50
SAE 20W-50
Original / OEM Öle
Öle für LKW und Busse
Öle für Motorräder
2-Takt Öle
Getriebeöle
Gabelöle
Motoröle für Straßenmaschinen
Motoröle für Rennmaschinen
Motoröle für Geländemaschinen
Harley Davidson + Metric V-Twin
Motoröle für Roller und Mopeds
Öle für die Landwirtschaft
Boote / Jetski
Öle für Gartentechnik
Automatikgetriebeöle
Getriebeöle
Zentralhydraulik/Servo/Lenkungsfluid
Hydraulikflüssigkeit
Bremsflüssigkeit
Zur Kategorie BGS
Spezialwerkzeuge NFZ und LKW
Öl- & Kraftstofffilter
Biteinsätze & Bits
Bitsortimente
Bits 8 mm (5/16)"
Biteinsätze 20 mm (3/4)"
Bits 12,5 mm (1/2)"
Bits 6,3 mm (1/4)"
Biteinsätze 10 mm (3/8)"
Bithalter / Adapter
Bits 14 mm
Bits 10 mm (3/8)"
Biteinsätze 12,5 mm (1/2)"
Biteinsatzsortimente
Bits 22 mm
Biteinsätze 6,3 mm (1/4)"
Drehmoment-Werkzeuge
Reparatursätze f. Drehmomentschlüssel
Torsionsstäbe
Einsteckwerkzeuge
Reparatursätze für Drehmomentschlüssel
Drehmoment-Zubehör
Drehmomentschlüssel
Drehmomentvervielfältiger
Handwerkzeuge
Gewindeschneider
Schleifen, Polieren
Werkzeugkoffer, Taschen (Ersatz zu BGS Artikeln)
Schraubendreher
Werkzeugkoffer & Taschen (leer)
Zangen
Schleifen und Polieren
Trenn- & Schleifscheiben
Schraubenschlüssel
Messer Scheren
Schraubstöcke / Schraubzwingen
Schaber
Stufenbohrer / Schälbohrer
Stehbolzenausdreher
Bohrer
Meißel / Körner / Splintentreiber
Äxte, Spalthämmer
Hakenschlüssel Stiftschlüssel
Werkzeugkoffer & Taschen (Universal)
Messwerkzeuge
Bürsten
Abzieher
Hämmer
Sanitär
Haken- & Stiftschlüssel
Einschlag-Buchstaben, Zahlen
Sägen / Sägeblätter
Messlehren
Einschlag-Buchstaben & Zahlen
Fräser
Winkelschlüssel
Rohrbearbeitung
Bohrmaschinenzubehör
Werkzeugkoffer, Taschen (Universal)
Gewindebearbeitung
Messer / Scheren / Klingen
Werkzeugkoffer & Taschen (Ersatz zu BGS Artikeln)
Feilen / Schleifer / Spachteln
Hakenschlüssel, Stiftschlüssel
Sägen, Sägeblätter
Muttersprenger
Steckschlüsseleinsätze
Einsatz-Sortimente in 10 mm (3/8)"
Einsatz-Sortimente in 12,5 mm (1/2)"
Steckschlüssel-Einsätze in 20 mm (3/4)"
Steckschlüssel-Einsätze in 25 mm (1)"
Spezial-Steckschlüssel
Steckschlüssel-Einsätze in 10 mm (3/8)"
Einsatz-Sortimente in 6,3 mm (1/4)"
Einsatz-Sortimente in 25 mm (1)"
Steckschlüssel-Einsätze in 12,5 mm (1/2)"
Einsatz-Sortimente in 20 mm (3/4)"
Steckschlüssel-Einsätze in 6,3 mm (1/4)"
T-Griff-Steckschlüssel
Hochvoltwerkzeuge / Isolierte Werkzeuge
Industriechemie
Kleber, Dichtmittel
Reiniger
Druckluftwerkzeuge
Sprühpistolen
Schleifer
Reifenfüller
Ausglaswerkzeuge
Schlagschrauber
Bohrmaschinen
Ratschenschrauber
Ausblaspistolen
Druckluftzubehör
Schläuche
Sandstrahltechnik
Sonstige Druckluftwerkzeuge
Steckschlüsselsätze & Werkzeugkoffer
Steckschlüsselsätze 25 mm (1)"
Steckschlüsselsätze 6,3 mm (1/4)"
Steckschlüsselsätze 10 mm (3/8)"
kombinierte Sätze
Werkzeugsortimente
Steckschlüsselsätze 20 mm (3/4)"
Steckschlüsselsätze 25 mm (1)"
Steckschlüsselsätze 12,5 mm (1/2)"
Spezialwerkzeuge Fahrrad
Werkstattbedarf
Heber / Traversen / Krane
Montier-, Stemmhebel
Hydraulik
Lampen & Leuchten
Haken- & Lösewerkzeuge
Lampen, Leuchten
Reifendienst
Pumpen
Magnetheber, Greifer, Spiegel
Öldienst
Kartuschenpressen, Fettpressen
Reinigungsgeräte
Wagenheber, Unterstellböcke
Werkstattpressen
Prüfgeräte
Rollbretter, Knieunterlagen & Schutzauflagen
Rollbretter, Knieunterlagen, Schutzauflagen
Heber, Traversen, Krane
Behälter / Trichter / Pumpen
Endoskope
Kartuschenpressen & Fettpressen
Montier- & Stemmhebel
Magnetheber, Greifer & Spiegel
Behälter, Trichter, Pumpen
Wagenheber & Unterstellböcke
Werkstattwagen / Betriebseinrichtung
Werkstattagen & Zubehör
Werkstattwagen & Zubehör
Betriebseinrichtung
Spezialwerkzeuge Motorrad
Fahrwerk / Bremse / Antrieb
Fahrwerk / Lenkung / Bremse /Antrieb
Fahrwerk, Bremse, Antrieb
Heber
Verkaufshilfen
Kataloge
BGS Merchandise
Ladenausstattung
Elektro- / Akku-Werkzeuge
Induktionsheizgeräte
Stecker / Buchsen
Kabeltrommeln & Zubehör
18V Akku-Werkzeug-System
Löt- / Heißklebewerkzeuge
Knarren, Verlängerungen, Adapter & Zubehör
Verlängerungen
Knarren
Gelenke
Adapter
Aufsteckschienen
Gleitgriffe
Drehgriffe
Gelenkgriffe
Werkstattwagen
Bestückte Werkstattwagen
Zubehör für Werkstattwagen
Leere Werkstattwagen
Werkstattwageneinlagen
Zur Kategorie Werkzeug
Handwerkzeug
Gartengeräte
Werkstatt
Licht
Landwirtschaft
Verbrauchsmaterial
Blindnieten
Isolier- / Klebebänder
Schmiernippel
Befestigungsclips
Federn, Splinten
Federn / Splinten
Kabelschuhe
Durchgangstüllen
Schrauben, Nägel, Muttern
Sprengringe
Schlauchklemmen
Nietmuttern
Schrauben / Muttern
Schrauben / Nägel / Muttern
Schlauchverbinder
Dichtringe, O-Ringe
Dichtringe / O-Ringe
Schrumpfschläuche
Kabelbinder
Isolier-, Klebebänder
Zur Kategorie BGS Do it yourself
Haus & Garten
Bauwerkzeuge
Magnete
Rollen & Räder
Haushalt & DIY
Haushalt, DIY & sonstiges
Filzgleiter
Haken & Befestigung
Schlösser / Zylinder
Spezialwerkzeuge PKW
Getriebe, Achsen, Lenkung
Motor & Anbauteile
Elektrik
Getriebe / Achsen / Lenkung
Kühlsystem, Heizung, Klimaanlage
Motor, Anbauteile
Kühlsystem / Heizung / Klimaanlage
Bremse
Karosserie / Innenraum
Karosserie, Innenraum
Kleinteile / Verbrauchsmaterial
Beschläge & Verbinder
Klappstecker
Nägel & Schrauben
Kleinteile (sonstiges)
Klebebänder / Folien
Spezialwerkzeuge NFZ
KFZ-Zubehör
Spannbänder / Gepäckbänder
Seilzüge / Hebeschlingen
Spannbänder, Gepäckbänder
Starthilfe
Anhänger
Seilzüge, Hebeschlingen
Abschleppen
Zur Kategorie Sprays
Bremsenreiniger
Rostlöser
Silikonspray
Schmiermittel
Pflege und Wartung
Handreiniger
Reinigung
Fette
Rost- und Bearbeitungsmittel
Karosserie
Lacksprays
Lacke
Kunststoff-Lacke
Sonstiges
Bremssattel Lack
Dicht- und Klebestoffe
Fahrrad
Motorrad
Sonstiges
Tierhygiene
Insektizide
Biologisch
Haus und Garten
Ratten und Mäuse
Desinfektion
Spezialprodukte
Kleintierpflege
Zur Kategorie Arbeitsschutz
Handschuhe
Schutzbrillen
Schutzmasken
Gehörschutz
Sicherheitsschuhe
Bekleidung
Zur Kategorie Car Care
Motorraum
Autoshampoo
Außenpflege
Flugrostentferner
Polieren
Wax
Detailer und Cleaner
Polster und Teppichreiniger
Cockpit und Kunststoffreiniger
Lederpflege
Klimareiniger
Glasreiniger
Insektenentferner
Felgenreinigung
Reifenpflege
Additive
Öl Additive
Kraftstoff Additive Benzin
Kraftstoff Additive Diesel
Kühler Additive
Getriebe Additive
Motorrad Additive
Scheibenreiniger Sommer
Scheibenreiniger Frostschutz
Kühlerflüssigkeit
AdBlue
Wohnwagen Wohnmobil
Zur Kategorie KFZ Zubehör
Ersatzteile
gebrauchte Ersatzteile
Filter
Ölfilter
Luftfilter
Innenraumluft Filter
Kraftstofffilter
Hydraulikfilter
Reifenwechsel
Reifenangebot
Sommerreifen
Winterreifen
Lufterfrischer
Pflege und Reinigung
Zubehör
Radzierblenden
PKW Lampen
LKW Lampen
Fußmatten
Sitzbezug
Wischerblätter
Starterbatterien
Motorradzubehör
Sicherungen
Clips
Bremsbeläge
Sonstiges
Zur Kategorie Haus und Garten
Garten
Haushalt
Microfaser Produkte
Lampen
Gusto
Kinder
Fahrrad
Feuerzeuge
Elektronik
Desinfektion
Sommerartikel
Valentinstag
Weihnachten
Zur Kategorie %Prozente%
Super DEALS
Mode
Aktionsartikel
Angebote
Sonderposten
Zur Kategorie Ersatzteile
Bremsanlage
Filter
Bremslichtschalter
Bremssattel
Bremsschläuche
Scheibenbremse
Trommelbremse
Druckspeicher /-schalter
Bremsflüssigkeitsbehälter/Einzelteile
Retarder
Werkzeuge
Bremsleitungen
Bremskraftregler
Ventile
Bremsflüssigkeit
Fahrdynamikregelung
Radzylinder
Feststellbremse
Hauptbremszylinder
Verschleißanzeige
Hochleistungs-Bremse
Hebel/Seile/Züge
Vakuumpumpe
Bremskraftverstärker
Karosserie
Überrollbügel
Leuchten
Kühlerbefestigung
Fahrerhaus
Gesamtgrafik Karosserieteile
Werkzeuge
Kraftstofftank-/einzelteile
Fahrzeugheck
Elektromotor
Gasfedern
Fahrzeugfront
Zier-/Schutz-/Dekorleisten, Embleme, Spritzschutz
Verglasung/Spiegel
Karosserieteile/Kotflügel/Stoßfänger
Aufnahme/Träger/Rahmen
Fahrgastzelle
Zusatzscheinwerfer/-einzelteile
Hauptscheinwerfer/-einzelteile
Reserveradhalter
Klappen/Hauben/Türen/Schiebe-/Panoramadach/Faltdach
Abgasanlage
Abgasklappe
Katalysator
Montageteile
Resonator
Euro1-/Euro2-/D3-Umrüstung
Sportschalldämpfer
Ruß-/Partikelfilter
Werkzeuge
Nachrüstsatz, Motor-Sound-System
Harnstoffeinspritzung
Rohre
Krümmer
Sensor/Sonde
Regeneration Ruß-/Partikelfilter
Lambda-Sonde
Blende
Lader
Schalldämpfer
Hitzeschutz
Schalldämpferanlage komplett
Filter
Hydraulikfilter
Innenraumluftfilter
Luftfilter
Harnstofffilter
Kraftstofffilter
Filter-Satz
Kühlmittelfilter
Ölfilter
Getriebe
Schaltgetriebe
Werkzeuge
Artikelsuche über Grafik
Doppelkupplungsgetriebe
Automatisiertes Schaltgetriebe (ASG)
Öle
Automatikgetriebe
Federung/ Dämpfung
Federbein/Stoßdämpfer/-anbauteile
Schraubfahrwerkssatz
Öle
Fahrwerkssatz kpl.
Stoßdämpfer
Werkzeuge
Federung
Luftfederung
Federbein-/Stoßdämpferlagerung
Niveauregulierung/Fahrwerks-Hydraulik
Blattfederung
Achsantrieb
Steuergerät
Werkzeuge
Lamellenkupplung (Allradantrieb)
Gelenkwelle
Komplettachse
Öle
Verteilergetriebe
Differential
Schalter/Ventile
Druckluftanlage
Kupplungskopf
Schalter
Prüfanschluss
Ventile/Druckluftanlage
Druckregler/-zubehör
Absperr-/Wegehahn
Leitungen/Verbinder
Lufttrockner/-patrone
Schalldämpfer (Druckluftanlage)
Luftbehälter/-zubehör
Brems-/Arbeitszylinder
Sensor
Kraftstoffaufbereitung
Gemischaufbereitung
Vergaseranlage
Abgasreinigung
Informations-/Kommunikationssysteme
Werkzeuge
Kommunikation
Instrumente
Audioanlage
Antenne
Navigation
Scheinwerferreinigung
Sicherheitssysteme
Warnausrüstung
Werkzeuge
Alarmanlage
Einzelteile
Fahrerassistenzsystem
Airbagsystem
Gurtsystem
Spurwechselassistent
Wegfahrsperre
Elektrik
Rück-/Seitenstrahler
CAN Bus
Batterie
Sicherungen
Beleuchtungs-Schalter/-Relais/-Steuergeräte
Leuchten
Generator/-einzelteile
Kabelsatz/-einzelteile
Sensoren
Zusatzscheinwerfer/-einzelteile
Sicherungskasten/-halter
Hauptscheinwerfer/-einzelteile
Relais
Zentralelektrik
Startergenerator
Glühlampensortimente
Werkzeuge
Multifunktionsrelais
Spannungswandler
Horn/Fanfare
Instrumente
Multifunktionsschalter/Bedieneinheit
Blinkgeber/-relais
Startanlage
Steuergeräte
Signalgeber
Komfortsysteme
Motorvorwärmsystem (elektrisch)
Alarmanlage
Steuergerät
Fensterheber
Regensensor
Standheizung
Keyless-System
Geschwindigkeitsregelanlage
Sitzheizung
Glasdach
Kamera
Zuzieh-Hilfe/Türbetätigung
Motor/Relais/Schalter
Einparkhilfe/Rückfahrwarner
Zentralverriegelung
Pumpen
Heckklappenbetätigung
Heizung/Lüftung
Innenraumluftfilter
Steuergeräte
Innenraum-Wärmetauscher
Gebläse-Einzelteile
Zusatzwasserpumpe
Heizklappenkasten
Kühlwasservorwärmung
Schläuche/Rohre
Ventile/Regelung
Bedienelemente
Klimaanlage
Steuergerät
Reparatur-Set
Kältemittel/Filter
Kondensator
Sensoren
Montage
Vorwiderstand
Relais
Kompressor/Einzelteile
Werkzeuge
Schalter
Bedienung/Regelung
Ventile
Trockner
Verdampfer
Schläuche/Leitung
Achsaufhängung/Radführung/Räder
Rad/Radbefestigung
Lagerungssatz, Radaufhängung
Federbeinbefestigung/-lagerung
Artikelsuche über Grafik
Reifendruck-Kontrollsystem
Gelenke
Achsträger/Achskörper/-lagerung
Dom-/Querlenkerstrebe
Spurverbreiterung
Werkzeuge
Lenker/Lenkerlagerung
Streben/Stangen
Stabilisator/-befestigungsteile
Radnabe/-lagerung
Achsschenkel/-reparatursatz
Räder/Reifen
Reifen
Reifendruck-Kontrollsystem
Felgen
Zubehör
Werkzeuge
Lenkung
Lenkwinkelsensor
Lenkrad/-bauteile
Lenkstockhebel
Öldruckschalter
Ölpeilstab
Lenkgetriebe/-pumpe
Lenkungsaufhängung
Öle
Lenkschlauch/-leitung
Übertragungsteile Lenkung
Steuerung/Regelung
Gelenke
Faltenbalg/Dichtung
Spurstangen/-einzelteile
Ölkühler
Ausgleichsbehälter Hydrauliköl
Lenkgehäuse
Lenksäule/-welle
Artikelsuche über Grafik
Lenkungsdämpfer
Lenkungsfilter
Werkzeuge
Innenausstattung
Getränkehalter
Griffe
Fensterheber
Verkleidung
Zubehör
Steckdose
Hand-/Fußhebelwerk
Sonnenblende
Handschuhfach
Armlehne
Taxameter/Spiegeltaxameter/Zubehör
Fußmatten
Befestigungsclips
Staukasten
Koffer-/Laderaum
Aschenbecher
Armaturenbrett
Sitze
Werkzeuge
Gasfedern
Mittelkonsole
Windschott
Motor
Luftversorgung
Kurbelgehäuse
Motor-/Unterfahrschutz
Teilesatz Ölwechsel
Riementrieb
Zylinderkopf/-anbauteile
Motorsteuerung
Motoraufhängung
Werkzeuge
Schmierung
Artikelsuche über Grafik
Dichtungen
Motorelektrik
Abgasreinigung
Motorabdeckung
Komplett - / Teilmotor
Zylinder/Kolben
Kurbeltrieb
Kupplung/-anbauteile
Führungslager/Anlaufscheibe
Kupplungsscheibe
Reparatur-/Komplettsatz
Kupplungsspitzendrehmomentbegrenzer
Kupplungsdruckplatte
Dichtungen/Dichtungssätze
Werkzeuge
Schwungscheibe
Kupplungsgehäuse
Kupplungsumrüstsatz
Kupplungssatz
Anpressplatte
Torsionsdämpfer
Kupplungsbetätigung
Kupplungshydraulikfilter
Hydraulikflüssigkeit
Automatische Kupplung
Ausrücklager/Zentralausrücker
Hybrid-/Elektroantrieb
Antriebsbatterie
Ladestation
Kühlung
Schmierung
Sicherungskasten
Ladegerät
Batteriemodul
Elektromotor
Wärmeerzeuger
Getriebe
Ladeanschluss
Steuergerät
Wechselrichter
Transportvorrichtung
Heckträger
Dachträger
Spezialwerkzeuge
Ein-/Auspresswerkzeuge/Zubehör
Spezialwerkzeuge Abgasanlage
Spezialwerkzeuge Karosserie
Spezialwerkzeuge Federung/Dämpfung
Spezialwerkzeuge Achsantrieb
Spezialwerkzeuge Achsaufhängung/Radführung/Räder
Kühlung
Relais
Kühlmodul
Frostschutz
Thermostat/-dichtung
Schalter/Sensor
Lüfter
Luftkühlung
Wasserpumpen/-dichtung
Wasser-/Ölkühler
Artikelsuche über Grafik
Steuergerät
Werkzeuge
Schläuche/Leitungen/Flansche
Service-/Inspektions-/Wartungsteile
Zusatzarbeiten
Regelintervall
Riementrieb
Zahnriemen/-satz
Generatorfreilauf
Werkzeuge
Artikelsuche über Grafik
Flexible Kupplungsmuffe
Zubehör/Kleinteile
Keilriemen/-satz
Keilrippenriemen/-satz
Riemenscheibe
Zünd-/Glühanlage
Zündmodul/Schaltgerät
Glühkerze
Zündkerze
Flammstartanlage
Zündspule/Zündspuleneinheit
Schalter
Zündverteiler/-einzelteile
Glühüberwacher
Werkzeuge
Impulsgeber
Zündkabel/-anschlussteile
Steuergerät/Relais/Sensoren
Vorwiderstand
Unterdrucksystem
Schließanlage
Werkzeuge
Schlosssatz
Einzelteile
Schließzylinder/-satz
Griffe
Schlösser außen
Zentralverriegelung
Schlüssel
Fernbedienung, Zentralverriegelung
Schlösser Innenraum
Anhängevorrichtung/-anbauteile
Elektroteile
Anhängevorrichtung
Montagesatz
Steuergerät
Einzel-/Anbauteile
Scheibenreinigung
Schalter/Relais
Waschwasserdüse
Werkzeuge
Waschwasserpumpe
Wischergestänge/-antrieb
Wischblatt/-gummi
Waschwasserbeh./-leitung
Scheibenreinigungsanlage
Wischerarm/-lagerung
Wischermotor
Nebenantrieb
Riementrieb
Schalter
Nebenantrieb
Öl
Dichtungen
Radantrieb
Faltenbalg
Tripodestern
Befestigungs-/Zubehörteile
Werkzeuge
Antriebswelle
Gelenk/-satz
Außenplanetengetriebe
Kraftstoffförderanlage
AKF-System
Ventile
Kraftstofftank/-zubehör
Fördereinheit komplett
Kraftstoffkühler
Werkzeuge
Additive
Druckregler/-schalter
Pulsationsdämpfer
Schläuche/Leitungen
Wassersensor
Kraftstofffilter/-gehäuse
Tankgeber
Kraftstoffvorwärmer
Pumpe/-zubehör
Zubehör
Schmutzfänger
Pedalbelagsatz
Fahrzeugabdeckung
Schneeketten
Gasfedern
Armlehne
Windabweiser
Fußmatten
Warndreieck
Marderschutz
Nachrüstsatz, Motor-Sound-System
Staukasten/Staubox
Zigarettenanzünder
Koffer-/Laderaum/Ladefläche
Sonstiges
Menü schließen
Kategorien
Produkte
MARKEN
Oils
BGS
Werkzeug
BGS Do it yourself
Sprays
Arbeitsschutz
Car Care
KFZ Zubehör
Haus und Garten
%Prozente%
Winterartikel
Designer Aktionen
ABVERKAUF
Ostern
Ersatzteile
Versandkostenfrei ab € 100
Geschenk zu jeder Bestellung
Sicher einkaufen mit SSL Verschlüsselung
Über 1 Millionen Artikel
↵
14 Tage Rückgaberecht
Zu "GBS90830" wurden 936 Produkte gefunden
Filter
Filter
Hersteller
AISIN
AJUSA
AUTLOG
AUTOFREN SEINSA
BERU by DRiV
BF
BGS
BGS Diy
BILSTEIN
BLUE PRINT
BOSAL
BOSCH
BREMBO
BUDWEG CALIPER
CONTINENTAL CTAM
CORTECO
DELPHI
DENSO
DT Spare Parts
EIBACH
ELRING
ELSTOCK
FEBI BILSTEIN
FILTRON
FRECCIA
GATES
HAZET
HC-Cargo
HELLA
HENGST FILTER
HERTH+BUSS JAKOPARTS
KNECHT
KOLBENSCHMIDT
KYB
LEMFÖRDER
LPR
M-Tech
MAGNETI MARELLI
MAHLE
MANN-FILTER
MEAT & DORIA
MEYLE
MONROE
MOOG
NISSENS
NRF
NTK
OE Germany
ORIGINAL IMPERIUM
PIERBURG
SACHS
Schaeffler INA
Schaeffler LuK
SKF
SNR
Sonstige
TEDGUM
TRICO
TRW
TYC
VAICO
VALEO
VDO/CONTINENTAL
VICTOR REINZ
WABCO
WALKER
Abtriebsprofilgröße, imperial
1 "
1/2 "
1/4 "
3/4 "
3/8 "
Antriebsprofilgröße, imperial
1/2 "
1/4 "
1/4 | 3/8 | 1/2 "
Arbeitstemperatur max.
40 °C
85 °C
Arbeitstemperatur min.
-10 °C
OEM marke
Audi
BMW
Citroën
Skoda
Toyota
Vauxhall
Volkswagen
Schalldruckpegel
88 dB(A)
90 dB(A)
Schallleistungspegel
102 dB(A)
Steckertyp
C (CEE 7/16) - Eurostecker
Preis
Minimal
€
–
Maximal
€
1
2
3
4
5
Name A-Z
Name Z-A
Preis aufsteigend
Preis absteigend
Topseller
Beste Ergebnisse
Anschlagelement passt zu: RVI
13,00 €*
In den Warenkorb
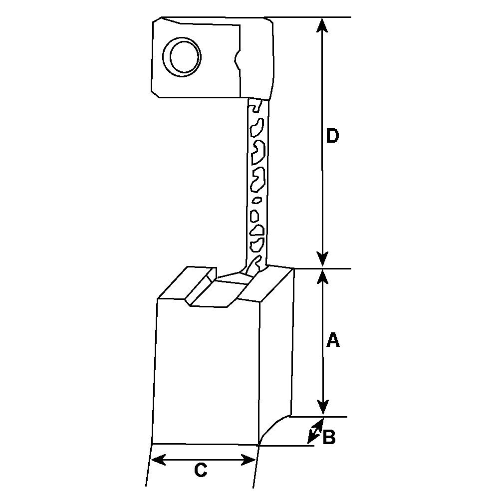
Kohlebürste, Starter
7,99 €*
In den Warenkorb
Dichtung, Wasserpumpe
3,50 €*
In den Warenkorb
BGS Saug- und Druckspritze | 500 ml
26,50 €*
42,78 €*
(38.06% gespart)
In den Warenkorb
BGS Lackschichten-Messgerät | für Eisen- und Nicht-Eisen-Metalle
274,99 €*
In den Warenkorb
Dichtring, Ventilschaft
1,50 €*
In den Warenkorb
BGS Motorradheber | 150 kg
106,99 €*
In den Warenkorb
BGS Ersatzzapfen | 6 - 8 mm | für Art. 9602 | 2-tlg.
9,99 €*
In den Warenkorb
Batterieabdeckung passt zu: MAN TGX II 02.20-
69,99 €*
In den Warenkorb
Radlagersatz
70,50 €*
In den Warenkorb
BGS Ersatzzapfen | 7 - 9 mm | für Art. 9602 | 2-tlg.
9,99 €*
18,50 €*
(46% gespart)
In den Warenkorb
BGS Auffahrrampen-Satz | Kunststoff | mit 3 Auffahrhöhen | 2-tlg.
42,50 €*
In den Warenkorb
2908300, P-Zero (PZ4), PIRELLI, Sommer-, Pkw-Reifen, RFT, FR, XL, MOE, L.S., kraftstoffeffizienz Leistungsklasse - C; nasshaftungs Leistungsklasse - A; wert und Leistungsklasse für externes Rollgeräus
237,99 €*
In den Warenkorb
Stoßfängerbefestigung L passt zu: MAN TGX II 02.20-
100,50 €*
In den Warenkorb
BGS Druckluft-Bremsenentlüfter-Satz | 2-tlg.
69,50 €*
In den Warenkorb
Jacke Tourist ALPINESTARS RX-5 DRYSTAR farbe schwarz, größe 3XL
301,99 €*
In den Warenkorb
Anschlagelement (blende stoßstange) vorne R T passt zu: RVI T 01.13-
30,50 €*
In den Warenkorb
Anschlagelement (verschlußpropfen) vorne passt zu: RVI
13,00 €*
In den Warenkorb
Frontkotflügel L (hinten) passt zu: MAN TGX II 02.20-
136,99 €*
In den Warenkorb
Frontkotflügel R (hinten) passt zu: MAN TGX II 02.20-
153,99 €*
In den Warenkorb
BGS Kühlsystem-Abdrück- und Befüllwerkzeug-Satz | 13-tlg.
140,99 €*
191,35 €*
(26.32% gespart)
In den Warenkorb
Anschlagelement (blende stoßstange) vorne L passt zu: RVI T passt zu: RVI T 01.13-
30,50 €*
In den Warenkorb
BGS Werkstattwageneinlage 1/6: Motor-Einstellwerkzeug-Satz | für Citroën, Peugeot 1.2 GDI PureTech
62,99 €*
In den Warenkorb
Innenraumluftfilter mit aktivkohle passt zu: ALFA ROMEO 159, BRERA, SPIDER 1.8-3.2 06.05-12.12
7,50 €*
In den Warenkorb
1
2
3
4
5
Diese Website verwendet Cookies, um eine bestmögliche Erfahrung bieten zu können.
Mehr Informationen ...
Ablehnen
Konfigurieren
Alle Cookies akzeptieren